본문으로 건너뛰기
WIM Tech Blog

EngineeringInsights

AI와 Robotics 분야의 최신 기술, 실무 경험, 그리고 깊이 있는 인사이트를 공유합니다.

Categories

관심 분야 살펴보기

최신 아티클

ARM64에서 std::memory_order의 실제 비용은 얼마인가? — Jetson Orin 실측 벤치마크

1kHz RT 루프에서 atomic memory ordering이 성능 병목이 될 수 있는지 Jetson Orin(Cortex-A78AE)에서 직접 측정했습니다. AArch64에서 seq_cst와 release/acquire의 비용은 사실상 동일하며, 25개 atomic 연산의 총 비용은 1ms 예산의 0.01% 미만입니다.

템플릿 매칭의 진화: 픽셀 기반에서 딥러닝까지

템플릿 매칭의 진화: 픽셀 기반에서 딥러닝까지

컴퓨터 비전의 템플릿 매칭 기술이 픽셀 기반 방식에서 SIFT/ORB를 거쳐 SuperPoint/SuperGlue까지 어떻게 발전했는지 설명합니다. 각 방법의 원리, 한계, 그리고 용도별 권장사항을 다룹니다.

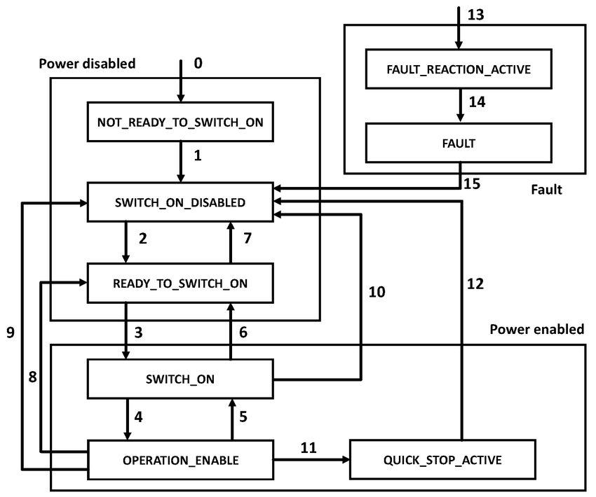
모터 제어의 표준어: CiA402 프로필

모터 제어의 표준어: CiA402 프로필

EtherCAT과 CANopen 기반 산업용 로봇의 모터 제어 표준인 CiA402 프로필을 설명합니다. 상태 머신, Controlword/Statusword 비트 구조, 동작 모드를 실제 예시와 함께 다룹니다.

Lock-free vs Mutex: 로봇 제어 시스템 IPC 성능 벤치마크

로봇 제어 시스템의 IPC 성능을 결정하는 요인은 프로세스 경계가 아닌 동기화 메커니즘입니다. Mutex 기반 78-103µs에서 Lock-free로 0.74-0.82µs를 달성한 100배 개선 사례를 공유합니다.

로봇이 3D 공간을 이해하는 방법: Voxel과 SDF

로봇이 3D 공간을 이해하는 방법: Voxel과 SDF

로봇이 3D 환경을 표현하고 이해하는 Voxel, SDF, TSDF, ESDF 기술을 설명합니다. Point Cloud와의 차이점, 로봇 경로 계획과 표면 재구성에서의 활용 사례를 다룹니다.

로봇 위치 추적 정확도 개선: 가속도 피드포워드 최적화 여정

로봇 위치 추적 정확도 개선: 가속도 피드포워드 최적화 여정

6축 로봇 암의 가속도 피드포워드 제어를 최적화한 과정을 공유합니다. 수치 미분 대신 플래너 가속도 + LPF 조합으로 위치 RMSE 21.2% 개선과 토크 안정성을 동시에 달성했습니다.

About

블로그 소개

WIM Inc.는 AI와 Robotics 기술을 융합하여 산업 자동화의 미래를 만들어가고 있습니다. 이 블로그에서는 우리가 마주한 기술적 도전과 해결 과정, 그리고 얻은 인사이트를 공유합니다.

실무에서 검증된 기술, 깊이 있는 분석, 그리고 실용적인 가이드를 통해 AI와 Robotics 분야의 엔지니어들에게 도움이 되고자 합니다.

뉴스레터

새 글이 발행되면 이메일로 알려드립니다

스팸 없이, 기술 콘텐츠만 보내드립니다